首页 > 行业新闻 > 《舌尖3》章丘铁锅热卖断货 “臻三环”第35类商标被抢注致厂家惹祸
《舌尖3》章丘铁锅热卖断货 “臻三环”第35类商标被抢注致厂家惹祸 时间:2018-03-06 阅读:2176 次


    期待了整整四年,《舌尖上的中国》第三季终于在春节期间重磅回归,配方还是原来的配方,但却不是原来的味道!开播第一天美食没怎么介绍,竟被一口铁锅种了草,山东章丘的铁锅一夜之间爆火,热卖断货,然而因第35类商标被抢注,“臻三环”下架商品并关闭天猫店。


 
近日,因纪录片《舌尖上的中国3》而红遍全国的“章丘铁锅”成为热搜的“神器”,天猫平台上章丘铁锅的销量同比增长了近6000倍。

 

据统计,在章丘注册登记的锅具厨具生产企业和个体经营户有16家,销售企业和个体经营户有500余家。网络平台上,章丘铁锅已经成了热门词,价格飞涨的背后是一锅难求的现状。

《舌尖上的中国》第三季中介绍的是一款名为“臻三环”的手工铁锅,节目播出后几天卖出了全年的锅,连订单都排到了两年后。

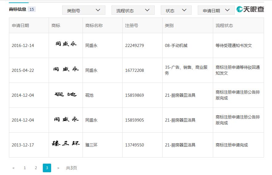
怀着好奇心小编经过查询,这款名为“臻三环”的铁锅早在2015年就注册成商标,注册人为济南三环厨具有限公司,股权人为冯全永与刘紫木,公司名下还有“同盛永”等商标。


 

《舌尖3》播出后,迅速在全国掀起一股抢锅热潮。在淘宝平台,臻三环旗舰店因售罄下架了铁锅产品,并呼吁消费者理性消费。但还有很多的商家借机哄抬价格,打出“臻三环”的旗号继续叫卖!

 

臻三环旗舰店发出的通知

 

搜索“臻三环”关键字,上图为依旧在叫卖的部分“臻三环”产品,并且价格不菲。而相比电商平台上的部分山寨品,小编发现一个更重要的情况!那就是“臻三环”的第35类商标即将被另一家公司注册成功,申请日期为去年的5月,并且已经在今年的1月27发布了初审公告。

 

中国商标网显示第35类的“臻三环”被不同的申请人申请,其中一家公司已经初审公告。

 

目前,济南三环厨具的“臻三环”只在厨具产品类别进行了商标注册,并没有注册35类商标。

投瓜网曾经介绍过35类商标属于服务商标,包括由个人或组织提供的广告、商业经营、商业管理、办公事务等服务。去年,天猫就规定卖场型旗舰店的入驻资质必须要有35类商标!

“知识产权+”电子商务已然成企业生产经营的必修课,任何品牌想在市场流通都必须注册第35类商标,因为所有企业的产品都需要进行各种形式的广告推广。

并且第35类涉及的行业范围较大,如电商平台,互联网企业;连锁加盟、贸易公司、销售交易服务或网站;众创空间类型的服务企业;广告公司、策划公司、设计公司等文化创意服务等等,所以35类商标对企业的重要性不言而喻。

投瓜网李剑威先生点评:

如果有公司成功注册了35类“臻三环”,意味着其可以开一家叫做“臻三环”的铁锅店,当然店里可以卖任何品牌的锅。

现在35类“臻三环”商标的初审公告已经发布近一个月,我国《商标法》规定:对初步审定公告的商标自公告之日起三个月内,在先权利人、利害关系人可以向商标局提出异议。意思就是如果自己的商标被他人抢注,在初审公告期三个月内提出异议还是可以进行补救的。

认识章丘铁锅“臻三环”老板冯全永和刘紫木的,一定要把信息转告给他们啊。商标初审公告的时间为三个月,留给他们的时间不多了!
热点推荐

2016投瓜网 版权所有 粤ICP备14038069号-1 未经书面授权严禁转载和复制本站的任何信息